作者:今年会jinnianhui日期:2026-02-21浏览:来源:今年会官网

国家知识产权局信息显示,特技阀门集团有限公司申请一项名为“一种旋启式单阀瓣止回阀”的专利,公开号CN121429841A,申请日期为2025年11月。
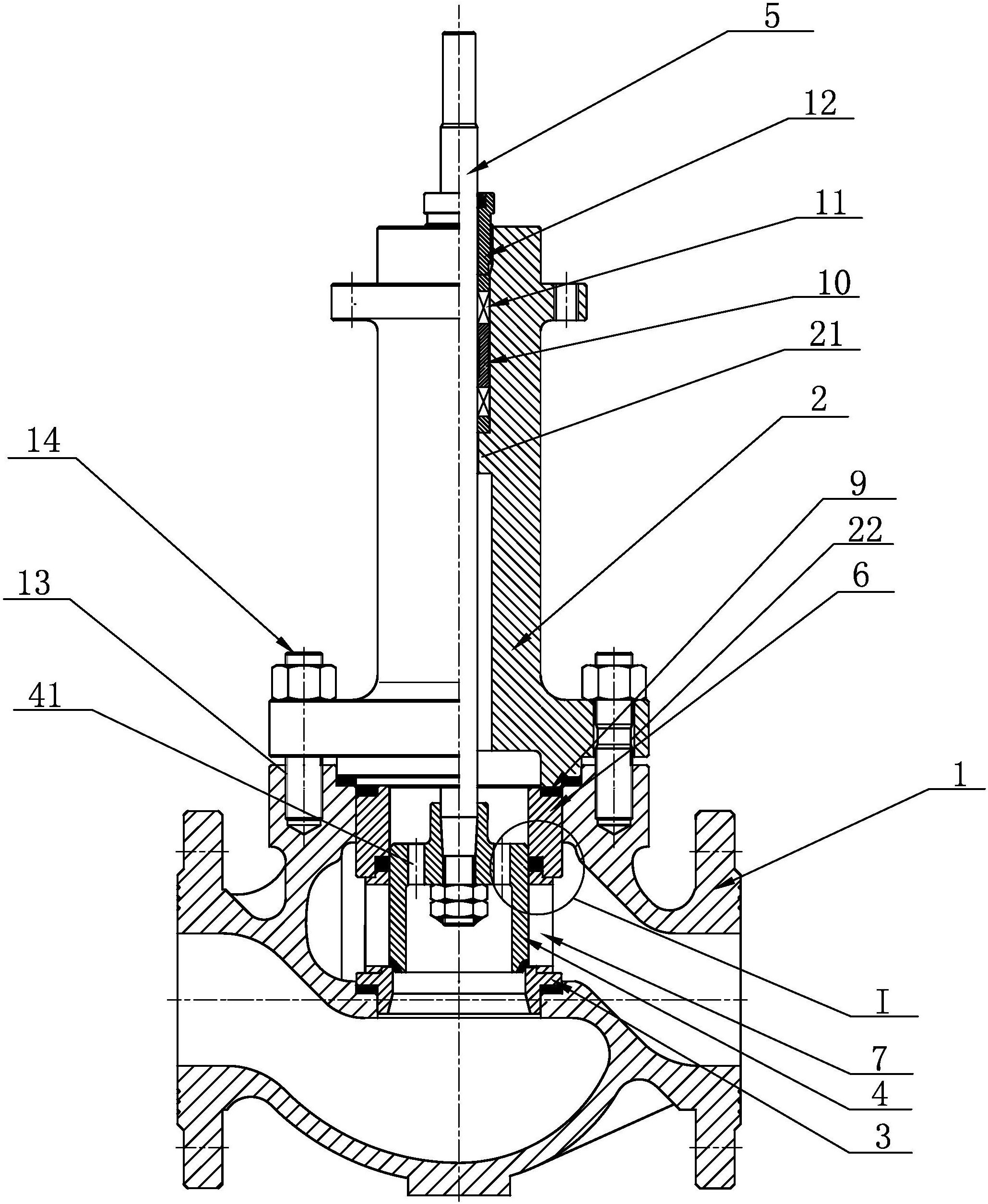
专利摘要显示,本发明属于止回阀技术领域,具体是一种旋启式单阀瓣止回阀,包括阀体,还包括:阀瓣,活动连接在阀体的内部,根据流动介质流量阶段式调节阀瓣转动角度;摩滞组件,设置在阀瓣的上侧,包括多个摩擦垫和与摩擦垫相互挤压摩擦的摩擦块,当通过阀体内部的流动介质小幅波动时,摩擦块和摩擦垫相互挤压摩擦,阀瓣在阀体内部的转动阻力作用下保持静止;防撞组件,设置在摩滞组件的内部,包括楔形块,当阀瓣关闭状态且阀体内部通过高压流动介质时,楔形块带动阀瓣横向位移并带动摩擦垫和摩擦块分离;通过调节组件可预先调整摩擦力,以适应不同粘度流体;流动介质消失时,在摩擦阻尼与弹性复位协同下,阀瓣缓慢关闭,防止阀瓣与阀座撞击。
天眼查资料显示,特技阀门集团有限公司,成立于1999年,位于温州市,是一家以从事专用设备制造业为主的企业。企业注册资本22600万人民币。通过天眼查大数据分析,特技阀门集团有限公司共对外投资了9家企业,参与招投标项目956次,财产线条,此外企业还拥有行政许可6个。
声明:市场有风险,投资需谨慎。本文为AI基于第三方数据生成,仅供参考,不构成个人投资建议。
上一篇:现采用竞价方式选择供应商
下一篇:且其端部通过铰链连接