作者:今年会jinnianhui日期:2026-02-22浏览:来源:今年会官网

国家知识产权局信息显示,四川欧曼机械有限公司取得一项名为“一种高温高压抗腐蚀阀座”的专利,授权公告号CN223854889U,申请日期为2025年3月。
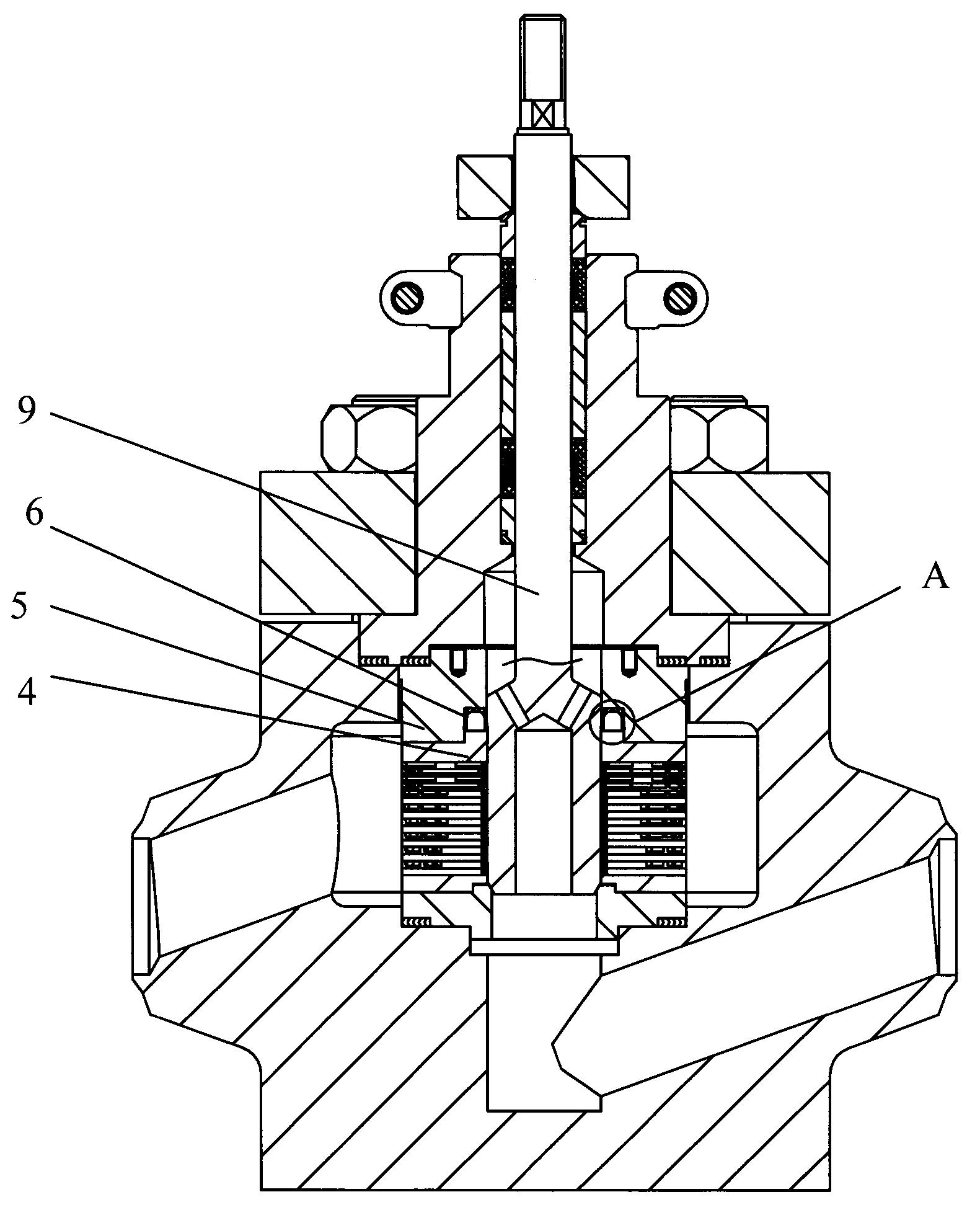
专利摘要显示,本实用新型公开了一种高温高压抗腐蚀阀座,涉及工业阀门技术领域,包括主阀体和两个侧阀体,所述主阀体上安装有阀杆,所述主阀体内转动连接有阀球,所述阀杆与所述阀球连接,两个所述侧阀体与所述主阀体连接,两个所述侧阀体内均设有连接环,两个所述侧阀体一侧连接有阀座件,所述阀座件上设有第一密封环和第二密封环,所述第一密封环与所述第二密封环之间设有两个凸环,且第一密封环、第二密封环和两个凸环与所述阀球接触连接;本实用新型当第一密封环因磨损或老化而失效时,第二密封环仍然能够保持密封效果,有效防止泄漏,且凸环可以进一步增加阀座件与阀球之间的接触压力和接触面积,从而提高密封效果。
天眼查资料显示,四川欧曼机械有限公司,成立于2006年,位于成都市,是一家以从事批发业为主的企业。企业注册资本5000万人民币。通过天眼查大数据分析,四川欧曼机械有限公司参与招投标项目16次,财产线条,此外企业还拥有行政许可24个。
声明:市场有风险,投资需谨慎。本文为AI基于第三方数据生成,仅供参考,不构成个人投资建议。
下一篇:为客户提供全国性的高效支持